- Технические характеристики и другая информация предоставляются для справки.
- Чертежи и изображения представлены для ознакомления
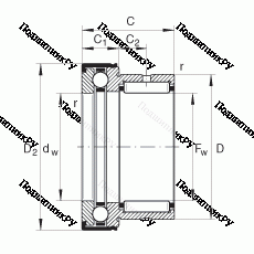
Подшипник NKX 35-Z 35x53.2x30 SKF
Внимание: для уточнения актуальной цены, наличия и условий поставки рекомендуем обратиться к менеджеру отдела продаж. Отгрузка отдельных позиций может занимать от 2 рабочих дней, так как товары находятся на разных складах на территории РФ.
Условия заказа и доставки
- Продажи осуществляются только юридическим лицам
- Доставка в Краснодаре выполняется через ТК: СДЭК, Деловые Линии, Возовоз, Энергия
- Для небольших подшипников действует минимальная партия
- Счета выставляются от 5000 руб.
Подшипник NKX35-Z представляет собой сочетание упорного шарикоподшипника и радиального иглоподшипника, подходящих друг другу по строению и характеристикам и представляющих единый блок. Существуют вариации подшипников с канавкой на корпусе или без внутренней обоймы (в последнем случае к качеству поверхности вала предъявляются особые требования либо устанавливаются дополнительные IR-насадки). Также производятся устройства, воспринимающие одно- и двунаправленные воздействия по оси.
Чем характеризуется Подшипник NKX35-Z?
- Система способна воспринимать рабочие нагрузки любого вектора и отличается малыми габаритами, поэтому может быть установлена в узле с ограниченным пространством.
- Взаимодействует с осенаправленными векторами приложения сил при повышенных скоростях вращения.
- Применяется в случаях, когда невозможно обеспечить стандартные условия подачи смазочных материалов в узлы с упорными шинами простых разновидностей.
- Обладает небольшим поперечным сечением.
- Изготавливается компаниями FAG, NSK, SNR, SKF, KOYO в разборном виде.
Заказывайте, не выходя из офиса, такую деталь как Подшипник NKX35-Z ГОСТ или его (аналог ISO) по выгодной стоимости!
| Параметр | Значение |
|---|---|
| m | 0.168 кг |
| d | 35 мм |
| D | 53.2 мм |
| В; Н; Т | 30 мм |
| Обозначение по ISO | NKX35-Z |
| Комбинированные упорные шарикоподшипники с игольчатыми роликами, Комбинированные упорные/радиальные подшипники, Подшипники качения |
|
Производитель
|
SKF |
|
Ширина B
|
30 |
|
Внешний диаметр D
|
53.2 |
|
Внутренний диаметр d
|
35 |
|
Размер
|
35x53.2x30 |
|
Вес, кг
|
0.168 |
|
Модель
|
NKX 35-Z |
Похожие по размеру
Поставка Подшипник NKX 35-Z 35x53.2x30 SKF и других подшипников и комплектующих осуществляется для юридических лиц по безналичному расчету. Счета выставляются от 5000 руб. Для части малогабаритных подшипников действует минимальная партия заказа.
Вы можете оформить заказ через корзину сайта или отправить заявку в отдел продаж. После получения заявки менеджер проверит наличие, уточнит стоимость, сроки поставки и подготовит счет. Если требуется помощь с подбором подшипников, аналогов или уточнение технических параметров, менеджеры помогут подобрать подходящее решение.
Отправка заказов по России осуществляется транспортными компаниями:
- СДЭК
- Деловые Линии
- Возовоз
- Энергия
Менеджер согласует сроки отгрузки, стоимость доставки и передачу груза в транспортную компанию.
В связи с наличием нескольких складов срок отгрузки некоторых позиций может составлять от 2 рабочих дней.
Оплата производится по безналичному расчету на основании выставленного счета. Резервирование товара осуществляется после согласования заказа с менеджером отдела продаж.
Отправить запрос на подбор аналога
Гарантийные обязательства подтверждаются документами производителя и действуют при соблюдении условий хранения, монтажа и эксплуатации.
Что покрывает гарантия
Гарантия распространяется на заводские дефекты материалов и изготовления, несоответствие заявленным техническим характеристикам, а также поставку некомплектного изделия согласно спецификации. Факт дефекта подтверждается актом или заключением производителя либо сервисного центра. Срок гарантии определяется паспортом или каталогом производителя и составляет, как правило, до 12 месяцев с даты приёмки товара по УПД/накладной. По отдельным позициям срок может отличаться - уточняйте у менеджера при оформлении заказа.
Гарантия не распространяется на:
- механические и электрические повреждения, следы ударов и коррозии;
- нарушение условий хранения, монтажа, смазки или эксплуатации;
- следы вскрытия или вмешательства, установку нестандартных запчастей;
- повреждения из-за внешних факторов и форс-мажора.
Как обратиться по гарантии
Направьте письмо на info@podshipnikru.com с темой "Гарантия", укажите номер УПД/счёта, опишите дефект и приложите фото или видео. При необходимости изделие направляется на диагностику. Срок рассмотрения заявки - до 10 рабочих дней с момента получения полного пакета документов. По итогам принимается решение о ремонте, замене или возврате средств.
Возврат товара
Возврат товара надлежащего качества возможен по соглашению сторон при условии, что товар не был в эксплуатации, сохранены товарный вид, пломбы и комплектность. Возврат или обмен необходимо согласовать с менеджером до отправки. Доставка товара до нашего склада при возврате в Краснодаре осуществляется за счёт покупателя - стоимость транспортных расходов не компенсируется. Возвращается стоимость товара согласно документам поставки.

